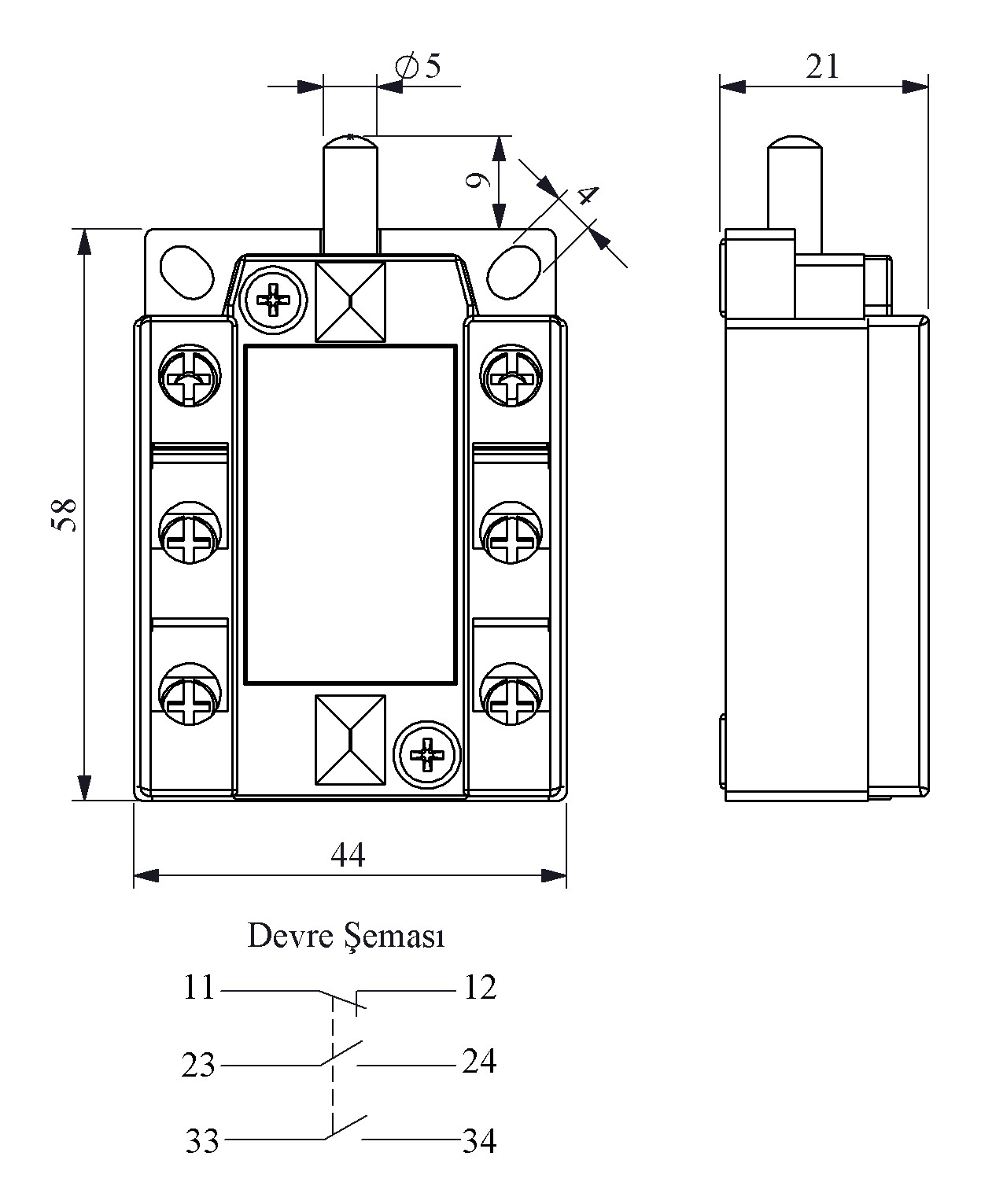
2NO+1NC Vidalı K Serisi Hücre Switch

Ürün Kodu
K25011V
Standart
TS EN 60947-5-1
Belge
CE EAC SEPRO UKCA
  • V0 hammadde
2NO+1NC Vidalı K Serisi Hücre Switch
Ürün
Hücre Switch
Seri
K Serisi
Kontak
2NO+1NC
Bağlantı Tipi
Vidalı
Kontak Akımı (Ie)
2 A (250V AC)
Kullanım Kategorisi
AC15
Mekanik Ömür (Min Adet)
1000000
Elektriksel Ömür (Min Adet)
100000
Çalışma Sıklığı (Açma Kapama/Saat)
Mek. 3000 Elk. 1200
Yalıtım Gerilimi (Ui)
300 V
Darbe Dayanım Gerilimi (Uimp)
2.5 kV
Dielektrik Mukavemeti (Gövde-Kontak)
2.500V AC
Dielektrik Mukavemeti (Kontak-Kontak)
1.500V AC
İzolasyon Direnci
10 MΩ min. (500V DC)
Çalışma Sıcaklığı
-25 / +80 °C
Kirlenme Derecesi
3
Koruma Sınıfı
IP20
Kontak Malzemesi
AgNi
Kablo Bağlantı Kesiti
1-2.5 mm²
Sıkma Kuvveti
1,5 Nm
Kısa devre kesme kapasitesi (Ics)
1 kA